






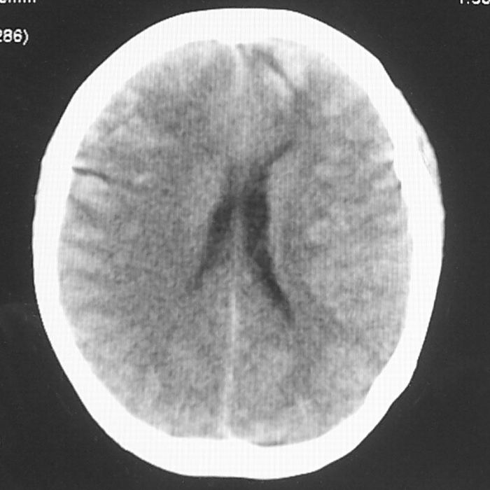
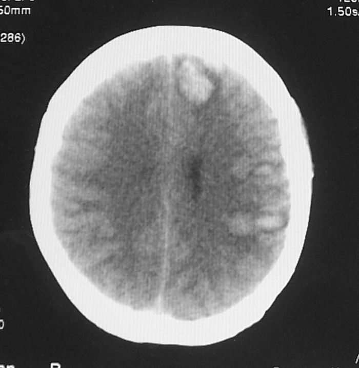
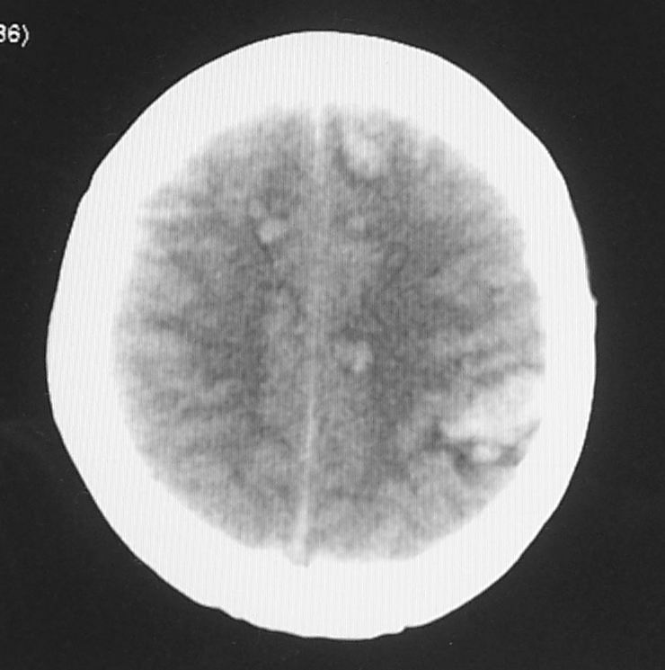
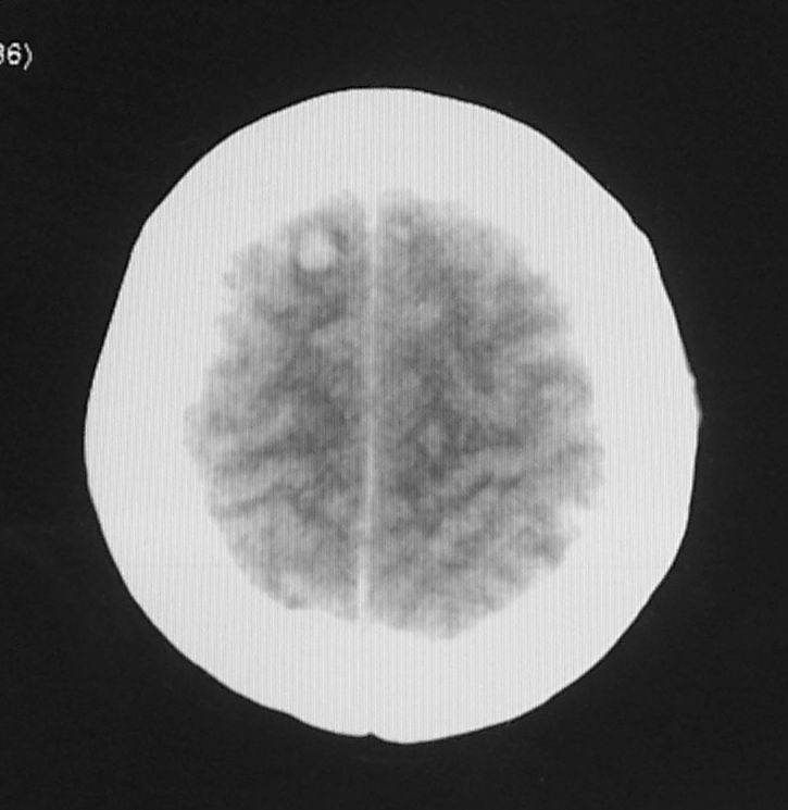
以下是引用13081830109在2006-12-19 19:58:00的发言:[br]较少见的颅内多发出血灶,蛛网膜下腔也有[br]建议查原因这样的情况多见于出血性疾病的颅内表现,消化道有出血吗?[br][br][本贴已被 13081830109 于 2006-12-19 20:02:49 修改过]
以下是引用frzh在2006-12-19 21:09:00的发言:[br]凝血机制破坏造成的颅内广泛多发出血
| 欢迎光临 医影在线 (http://bbs.radida.com/bbs/) | Powered by Discuz! X3.2 |