医影在线

标题: PED0002:很久前的片子了 [打印本页]

作者: lgdvd    时间: 2007-1-26 02:45
标题: PED0002:很久前的片子了








[本贴已被 guojx 于 2007-2-21 17:16:01 修改过]

作者: lgdvd    时间: 2007-1-26 02:49
标题: 回复:很久前的片子了
不好意思!!
作者: 阿圣    时间: 2007-1-26 07:17
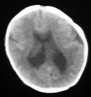
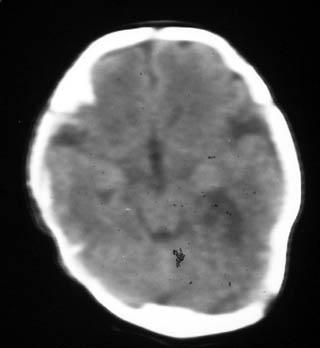
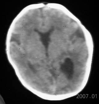
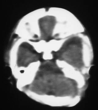
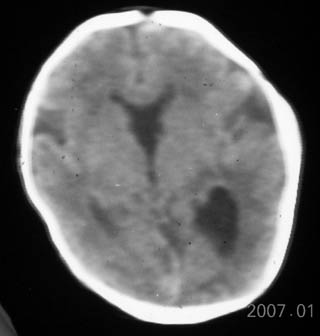
透明隔缺如
作者: ayi    时间: 2007-1-30 08:27
透明隔缺如。
作者: 九目段    时间: 2007-2-4 14:28
这是一个早产儿(大约34周左右)的片子,可以是透明隔缺如,但往往是错误的。
作者: ysxyy    时间: 2007-2-6 03:24
是不是只听过没见过的视隔发育不良?
不知有没有结果呀?
引用“九目段”:这是一个早产儿(大约34周左右)的片子,可以是透明隔缺如,但往往是错误的。
不知能否解释一下;
作者: lgdvd    时间: 2007-2-7 05:35
是个早产儿,不过没那末早,提前了26天。
   没有准确结果,病人家属拒绝做mr,3天后新生儿情况稍有稳定后,就出院了。
作者: 拾荒者    时间: 2007-2-12 05:14
视-隔发育不良:视-隔发育不良是罕见的中线结构前部畸形,主要特征为透明隔缺如,一般常见于垂体性侏儒症。ct表现为正常的透明隔缺如,双侧侧脑室前角及体部融合为一单脑室,侧脑室及第三脑室中度扩大,侧脑室前角在轴位像上呈反三角形,胼胝体压部变薄。约半数患者还伴有其它脑裂畸形改变。
胼胝体发育不全:胼胝体发育不全病因未完全确定,与遗传因素、母体感染或血管因素有关。胼胝体发育不全还可合并半球间裂囊肿、脂肪瘤、透明隔发育不全等。ct表现:半球间裂过深,第三脑室向前上移位,两侧侧脑室扩大,体部分离,呈反“八”字型或平行状。可伴随脑裂畸形、巨脑回、半脑间裂、蛛网膜囊肿及透明隔缺如等
作者: yuhongjun    时间: 2010-11-7 06:09
透明隔缺如,支持。




欢迎光临 医影在线 (http://bbs.radida.com/bbs/) Powered by Discuz! X3.2