医影在线

标题: PED0840:女,1.6岁,全身粘膜黄染6天,医生考虑新生儿胆红素 [打印本页]

作者: wymnet    时间: 2008-6-17 18:14
标题: PED0840:女,1.6岁,全身粘膜黄染6天,医生考虑新生儿胆红素


















[本贴已被 jiajie 于 2008-6-17 15:58:05 修改过]

作者: 老单    时间: 2008-6-17 18:18
正常  机器伪影
作者: wymnet    时间: 2008-6-17 18:35
我也考虑是机器伪影,但是也怕不是的,拿不定注意。
作者: w_jianhua    时间: 2008-6-17 18:50
伪影
作者: 深泽交通    时间: 2008-6-17 19:12
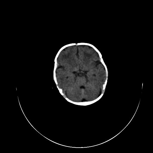
双侧脑实质多发低密度灶;是图象燥声?烟雾病?         右基底节到顶叶高密度灶,长轴大于宽度,伪影?出血灶??
作者: 宇宙CT    时间: 2008-6-17 19:25
正常
作者: yangyudong333    时间: 2008-6-17 19:56
机器伪影,每层都有,如果是病灶那不成了园柱形的了吗
作者: 前行    时间: 2008-6-17 20:13
mr检查
作者: 358450m    时间: 2008-6-17 20:16
双侧脑实质多发低密度灶;是图象燥声?烟雾病?         右基底节到顶叶高密度灶,长轴大于宽度,伪影?出血灶??
作者: 王仕学    时间: 2008-6-18 01:50
每层都有且没有改变,应该是机器伪影。
作者: 杀毒软件    时间: 2008-6-18 02:15
机器伪影
作者: wymnet    时间: 2008-6-18 03:19
谢谢拉,经过第二次扫描,就没有看见了,
开始我们也怀疑是机器伪影,但又怕是其他的。
不敢下结论。
作者: 随光逐影    时间: 2008-6-18 04:01
应该是机器伪影。
作者: 同    时间: 2008-6-18 04:35
机器伪影.
作者: 虚实村    时间: 2008-6-19 00:06
反对说异常.
作者: zjzjr    时间: 2008-6-19 20:32
机器伪影,每层都有
作者: dyqct    时间: 2008-6-24 04:53
支持:伪影。
作者: jinguoji    时间: 2008-6-26 22:26
每层都有且没有改变,是机器伪影。




欢迎光临 医影在线 (http://bbs.radida.com/bbs/) Powered by Discuz! X3.2