医影在线

标题: PED1017:女,3天,足月顺产,出生后精神反应弱2小时。 [打印本页]

作者: wpf    时间: 2008-9-9 05:55
标题: PED1017:女,3天,足月顺产,出生后精神反应弱2小时。
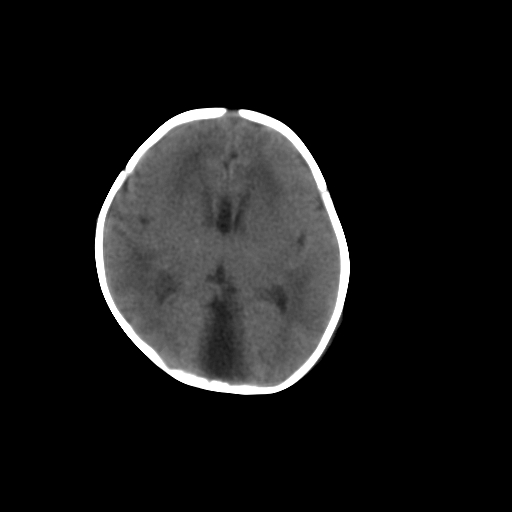
女,3天,足月顺产,出生后精神反应弱2小时。










[本贴已被 jiajie 于 2008-9-8 22:03:45 修改过]

作者: 子期    时间: 2008-9-10 00:47
蛛网膜囊肿。
作者: 杀毒软件    时间: 2008-9-10 01:49
蛛网膜囊肿,hie
作者: 同    时间: 2008-9-10 04:47
考虑 蛛网膜囊肿.
作者: w_jianhua    时间: 2008-9-10 20:53
建议mri以区别dandy-walker综合症
作者: hhcckk    时间: 2008-9-10 22:27
应该是大枕大池

依据:
1、低密度影由中线向两侧小脑表面延伸达岩锥
2、无明显占位效应

鉴别:
1、枕大池蛛网膜囊肿,常引起邻近颅骨的吸收和膨隆,枕大池蛛网膜囊肿可使四脑室前移位,伴病变以上脑室扩大。
2、dandy-walker综合征以脑积水和颅高压征常见,ct将其分为两型:
1.典型:第四脑室极度扩张或后颅凹巨大囊肿与第四脑室呈宽口相通,小脑蚓部缺如,合并脑积水。
2.变异型:第四脑室上部相对正常,可见袋状憩室从下髓帆发出,其大小、形态不一,小脑谿加宽,下蚓部发育不全、上蚓部相对正常,一般无脑积水
本例无巨大囊肿与第四脑室相通,小脑蚓部无缺如或发育不全,故不考虑
作者: 卜一    时间: 2008-9-11 00:26
蛛网膜囊肿。
作者: 深泽交通    时间: 2008-9-11 01:50
标题: 回复:ped1017:女,3天,足月顺产,出生后精神反应弱2小时
以下是引用子期在2008-9-9 16:47:00的发言:[br]蛛网膜囊肿。

作者: hguox    时间: 2008-9-11 05:13
以下是引用子期在2008-9-9 16:47:00的发言:
蛛网膜囊肿
作者: LIAIZHI    时间: 2008-9-11 06:23
1轻度hie2珠网膜囊肿。
作者: jiangjing    时间: 2008-9-11 18:13
蛛网膜囊肿,胼胝体发育不良
作者: xysheng    时间: 2008-9-11 20:30
支持11楼
作者: 随光逐影    时间: 2008-9-14 16:18
1)考虑hie。2)枕部颅骨内板下方类似囊状脑脊液样低密度影,鉴别于蛛网膜囊肿与巨大枕大池之间。
作者: ziyoufeixiang    时间: 2008-9-15 15:49
考虑 蛛网膜囊肿,建议做强化,鉴别是大枕大池其内可见造影剂、如是蛛网膜囊肿其内可不见造影剂、
作者: yangyudong333    时间: 2008-9-16 15:51
蛛网膜囊肿,hie
作者: 影象小泰斗    时间: 2008-9-17 04:58
考虑大枕大池!!
作者: 吴承学    时间: 2008-9-17 14:54
标题: 回复:ped1017:女,3天,足月顺产,出生后精神反应弱2小时
以下是引用子期在2008-9-9 16:47:00的发言:[br]蛛网膜囊肿。

作者: scdlc2008    时间: 2008-9-18 05:54
dandy-walker综合征
作者: dyqct    时间: 2008-9-24 17:09
标题: 回复:ped1017:女,3天,足月顺产,出生后精神反应弱2小时
以下是引用影象小泰斗在2008-9-16 20:58:00的发言:[br]考虑大枕大池!!

支持!
作者: hansufang    时间: 2008-9-24 17:34
支持6楼意见。
作者: pb11    时间: 2008-9-29 04:03
大枕大池
作者: qyfsk    时间: 2008-9-30 06:13
大枕大池,hie.
作者: fgp198    时间: 2008-9-30 16:24
大枕大池
作者: jinguoji    时间: 2008-10-10 00:37
大枕大池。




欢迎光临 医影在线 (http://bbs.radida.com/bbs/) Powered by Discuz! X3.2