医影在线
标题: PED1784:男,8岁,临床诊断:脑瘫。 [打印本页]
作者: wymnet 时间: 2009-3-9 01:03
标题: PED1784:男,8岁,临床诊断:脑瘫。
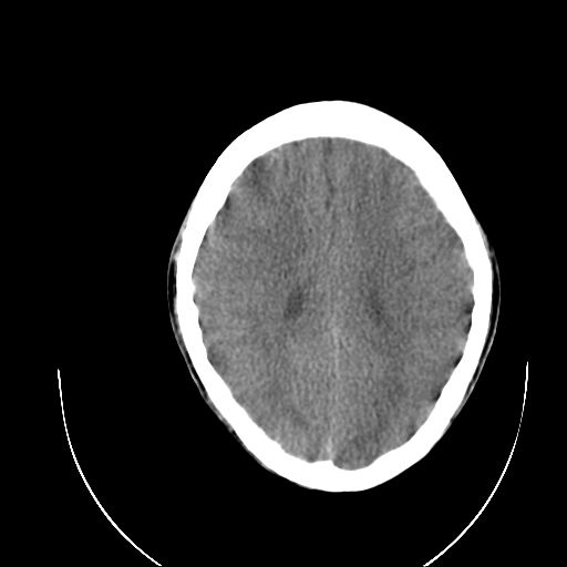
请大家看下这个片子是否有问题?!!
02年做ct有脑水肿。












[本贴已被 wymnet 于 2009-3-8 17:42:13 修改过]
[本贴已被 jiajie 于 2009-3-9 9:10:28 修改过]
作者: xinliheng001 时间: 2009-3-9 01:17
看见啥了?苍白球钙化?
作者: 余辉 时间: 2009-3-9 01:23
苍白球钙化
作者: ct诊断高手 时间: 2009-3-9 01:28
苍白球钙化
作者: 影象小辈 时间: 2009-3-9 01:44
8岁 苍白球钙化太早
作者: zgb5618 时间: 2009-3-9 01:45
苍白球钙化,别的没啥?你的机子不是特好,应该做个mri 在看看脑回有是没
作者: huangxinghai 时间: 2009-3-9 01:48
1、侧脑室后角扩大,考虑胼胝体发育不良,建议mr
2、两侧苍白球钙化
作者: 流浪星 时间: 2009-3-9 02:38
8岁 苍白球钙化太早,建议查甲状旁腺功能。
作者: panyishengct 时间: 2009-3-9 03:13
脑沟/脑池基本消失,考虑脑膜炎可能,建议与旧片对比.并行mr检查.
作者: dyqct 时间: 2009-3-9 04:02
8岁 苍白球钙化太早。建议进一步检查。
作者: hejie 时间: 2009-3-9 04:15
基底节苍白球在14岁以后逐渐钙化,早于此前属于病理现象。
作者: dsl555 时间: 2009-3-9 04:35
标题: 回复:男,8岁,临床诊断:脑瘫。
以下是引用dyqct在2009-3-8 20:02:00的发言:[br]8岁 苍白球钙化太早。建议进一步检查。
作者: 卜一 时间: 2009-3-9 04:48
两侧苍白球钙化!
作者: 黑白光影 时间: 2009-3-9 04:49
标题: 回复:男,8岁,临床诊断:脑瘫。
以下是引用流浪星在2009-3-8 18:38:00的发言:[br]8岁 苍白球钙化太早,建议查甲状旁腺功能。
作者: 同 时间: 2009-3-9 04:54
8岁,双侧仓白球钙化太早,建议mri检查。
作者: 泪洒红尘 时间: 2009-3-9 05:07
学习中
作者: 杀毒软件 时间: 2009-3-9 05:16
标题: 回复:男,8岁,临床诊断:脑瘫。
以下是引用dyqct在2009-3-8 20:02:00的发言:[br]8岁 苍白球钙化太早。建议进一步检查。
支持
作者: 祥云 时间: 2009-3-9 05:32
双侧苍白球钙化。
作者: hk761118 时间: 2009-3-9 05:55
苍白球钙化
作者: 无间道 时间: 2009-3-9 06:08
标题: 回复:男,8岁,临床诊断:脑瘫。
以下是引用dyqct在2009-3-8 20:02:00的发言:[br]8岁 苍白球钙化太早。建议进一步检查。
作者: 石门之剑 时间: 2009-3-9 06:13
苍白球钙化而已,别的没看到。
作者: zsl6918 时间: 2009-3-9 14:52
8岁 苍白球钙化太早。建议进一步检查
作者: songyi 时间: 2009-3-9 15:37
8岁 苍白球钙化太早。建议进一步检查
作者: 随光逐影 时间: 2009-3-9 15:44
双侧苍白球见对称性钙斑。
作者: jiangjing 时间: 2009-3-9 17:39
建议mri检查看一看胼胝体与有无脑回畸形
作者: 姜晓辉 时间: 2009-3-9 17:56
苍白球钙化!是否有家族是?
作者: scdlc2008 时间: 2009-3-9 20:03
苍白球钙化
作者: 自由人1 时间: 2009-3-9 23:17
苍白球钙化,但是太早了,有条件的话可以仅以不检查,同时看看甲状旁腺
作者: dengkai 时间: 2009-3-10 03:47
8岁 苍白球钙化太早,建议查甲状旁腺功能
作者: 拾荒者 时间: 2009-3-10 04:43
标题: 回复:ped1784:男,8岁,临床诊断:脑瘫。
以下是引用dengkai在2009-3-9 19:47:00的发言:[br]8岁 苍白球钙化太早,建议查甲状旁腺功能
支持!
作者: muzi888 时间: 2009-3-10 23:00
8岁 苍白球钙化太早。建议进一步检查。
| 欢迎光临 医影在线 (http://bbs.radida.com/bbs/) |
Powered by Discuz! X3.2 |